Основные ссылки

CSS adjustments for Marinelli theme

Приводные механизмы часов Часы приводимые в действие грузами

Из привода с грузом выработался первоначальный принцип колесных часов. Кроме бесспорной простоты и надежности, этот принцип обладал еще и преимуществом, которого долго не было у прежнего пружинного привода, а именно неизменностью (постоянством) приводной силы. Вес тел, зависящий от местного ускорения силы тяжести, несколько изменяется с географической широтой, но в отношении часов с грузом это не является помехой. Дело в том, что «непортативность» обрекала их стоять на одном месте. При изучении свойств и работы спускового механизма мы встретились с неблагоприятным последствием скачка спускового механизма в виде бесцельно затраченной потенциальной энергии груза. Чтобы нагляднее представить силовые отношения в передаточном механизме часов, будем исходить из схемы простых бамперных часов (рис. 23). Из этой схемы видно, что первоначальная сила тяжести Q, передаваемая зубчатыми механизмами, падает по направлению к спуску, что сопровождается, с другой стороны, ростом числа оборотов приводимых валов. Если зубья спускового колеса опираются на палеты силой Р1, то при указанных передачах на ведущем колесе будет действовать сила Р3, в 28 раз большая. Отсюда видно, какое большое количество энергии необходимо иметь в приводном механизме часов, чтобы обеспечить их ход.

Схема передачи силы в механических часах

Рис. 23. Схема передачи силы в механических часах

Другим неприятным фактором является понижение груза при каждом скачке спускового колеса, сопровождаемое потерей его потенциальной энергии. Это особенно чувствительно проявлялось у больших башенных часов, где масса груза составляла 100 кг и больше. Поднимание таких тяжелых грузов являлось физически тяжелым делом, и, кроме того, большие силы, которые возникают при этом в зубьях передачи, вызывают их быстрый износ.

Кроме своей простоты, грузовой привод имел перед пружинным приводом то большое преимущество, что в первом можно было сравнительно легко накапливать большое количество энергии. Сам приводной механизм образовывался ведущим валом с канатным барабаном или цепным колесом (рис. 24), храповиком и свободно вращающимся ведущим колесом с защелкой, предотвращающей возвратное движение. У самых старых часов цепные барабаны первоначально были деревянными, гладкими. На них наматывались пеньковые канаты с каменными, а позднее – металлическими грузами. Для более поздних часов XIX в. применялись металлические цепи. В таких случаях часы имели металлические канатные барабаны с пазами для витков каната. Меньшие настенные часы имели груз, подвешенный на струнах из овечьих кишок, а дешевые часы XIX и XX вв. имели грузы на металлических звеньевых цепочках. Цепные звездочки были, правда, намного уже, чем канатные барабаны, но передача силы на них была несовершенной ввиду непрерывно изменяющегося трения между зубьями звездочки и звеньями цепи при ее неудачной отмотке. Для удлинения хода часов между двумя заводками приходилось размещать часы на большой высоте, в самых высоких этажах зданий, в башнях или же применять системы роликов. Правда, одного ролика было недостаточно для увеличения продолжительности хода вдвое, но для развития нужной приводной силы был необходим груз удвоенной массы.

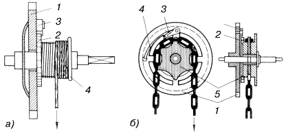
Привод грузом

Рис. 24. Привод грузом: а – струнный (1 – ведущее колесо, 2 – защелка, 3 – храповое колесо, 4 – струнный цилиндр);
б – цепной (1 – ведущее колесо, 2 – храповое колесо, 3 – защелка, 4 – пружина защелки, 5 – цепное колесо-звездочка)

Хорошие маятниковые часы, приводимые грузом, имели точный ход. Их суточная погрешность колебалась в пределах нескольких секунд или даже десятых долей секунды. Для точного измерения времени необходимо было, чтобы ход часов был абсолютно равномерным. Приводная сила должна была быть постоянной, не изменяться даже в течение тех коротких моментов, когда часы заводились. Поэтому у старых астрономических регуляторов мы встречаемся со специальным дополнительным механизмом, в задачу которого входило обеспечение постоянства приводной силы во время заводки часов.

Стремление к приоритету побуждало некоторых часовщиков создавать интересные конструкции привода, некоторые до сих пор привлекают внимание коллекционеров старых часов. Одной из таких конструкции являются пилообразные часы, в которых часовой механизм вместе с футляром, заполненным свинцом, является грузом. Приводную силу здесь передает длинная зубчатая рейка через триб и передаточный механизм на спусковой механизм часов. Известны так называемые цилиндровые часы, также приводимые собственным весом. Против момента силы тяжести, приводящей цилиндрическую втулку часов в движение по наклонной поверхности, действует силовой момент массивного сегмента внутри часов. Эти часы называли также гравитационными, и мы возвратимся к ним в главе, посвященной необычным типам часов.