На начальной стадии развития электрических часов совершенно четко видны следы долгой эры механических часов, причем как крупных стационарных, так и малых портативных часов. В обоих случаях электроэнергия служила сначала лишь для завода механического ведущего устройства – груза или пружины.
Пионером в конструировании первых электрических часов, принцип которых существенно отличался от принципа классических шестеренчатых часов, был Александр Бэйн (1811...1877) из Эдинбурга, изобретатель электромеханического печатающего телеграфа. В 1840 г. он получил патент на электрические часы, главными деталями которых были, правда, еще механические часы, приводимые пружиной, но индикатор времени был решен на принципе суммирования электрических импульсов, подаваемых маятником часов. Лишь в период 1845...1847 гг. Бэйн завершил свою работу над первыми действительно электрическими часами, главным механизмом которых был электрический контакт, управляемый движением часового маятника, приводимого в движение импульсами электромагнита. Железное ярмо на линзе маятника проходило через полости катушек соленоидов. Изменение полярности магнитного поля и попеременные притягивания и отталкивания ярма обеспечивали электрический контакт на маятнике. Количество колебаний регистрировал электромагнитный счетчик, связанный колесной передачей со стрелками на циферблате часов.
Одновременно с Бэйном создал электрические часы и другой англичанин – Чарлз Уитстон (1802...1875), но часам Бэйна принадлежит приоритет в части электромагнитного привода осциллятора. Систему Бэйна перенял и несколько изменил в начале нашего века француз Булль. В коммерческом исполнении стала производить эти часы под маркой «АТО» известная фирма Юнгханса в Шрамберге. Часы Булля, маятник которых получал электромагнитные импульсы при каждом колебании, питались от элементов Лекланше, тогда как Бэйн вынужден был пользоваться еще намного более примитивными источниками электроэнергии. Его гальваническим элементом был угольный электрод, закопанный в землю, окруженный на расстоянии нескольких дециметров цинковыми пластинами, соединенными проволокой в один отрицательный электрод. Элемент давал электрический ток, если оба электрода постоянно находились в достаточно влажной среде. Еще до Булля и Юнгханса система Бэйна привлекла некоторых английских предпринимателей. В 70-х годах прошлого века эта была, например, фирма «Стандард Тайм Компани» в Лондоне и фирма «Ритче» в Эдинбурге, где модифицировали конструкцию Бэйна.
Позднее были основаны на электромагнитном принципе многие другие электрические часы, в создании которых принимали участие Липпман, Фери, Госселен и другие. Эти часы, хотя и удовлетворяли теоретическим положениям, но на практике работа над ними наталкивалась на многие трудности с поддержанием амплитуды и постоянного периода колебаний осцилляторов. Величина электрического импульса зависела от качества контакта электрической схемы. Электрический контакт был главной причиной значительных колебаний хода первых электрических часов.

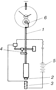
Рис. 35. Схема включения электрических часов Гиппа:
1 – маятник, 2 – ярмо, 3 – импульсная катушка, 4 – контакт Гиппа, 5 – источник, 6 – счетчик колебаний
Необходимо было устранить или хотя бы ограничить недостатки контактного включающего механизма. В сторону второй возможности – ограничения недостатков – склонялся швейцарский механик и часовщик Маттеус Гипп (1813...1893), работавший в Ульме и в Сант Галлене, Берне и Невшателе. У часов Гиппа, построенных в первой половине сороковых годов прошлого века (рис. 35), движением маятника управляют два электромагнита с сердечниками из магнитомягкого материала, соединенных последовательно и приводимых в действие так называемым контактом Гиппа. При достаточной амплитуде маятника язычок контакта проскакивал, и контакт оставался разъединенным, но если. амплитуда падала ниже определенного предела, то язычок защемлялся в тонких вырезах контактной пластинки, прикрепленной к стержню маятника, вследствие чего происходил контакт. В отличие от часов Бэйна маятник здесь качался преимущественно свободно и получал импульсы лишь периодически. Часы Гиппа были весьма надежными в работе. Большинство этих часов, снабженных позднее полусекундным маятником, построили фирмы «Пейер», «Фаваржер и Цие» и «Телеграф Мануфактуринг Компани» в Невшателе.
В 1898...1899 гг. идею Гиппа о свободном электромагнитном маятнике развил Р. Рудд, который отсоединил от маятника механизм, регистрирующий количество его колебаний, и устранил переменное влияние этого механизма на маятник. Эти электрические часы имели, собственно говоря, по два синхронизированных маятника – главный и вспомогательный. Вспомогательные маятниковые часы посылали импульс механизму главного маятника, а синхронизирующий механизм посылал, в свою очередь, сигналы, синхронизирующие вспомогательные часы. Первые синхронизирующие импульсы, управляемые вспомогательным маятником, не были точными, но их ход определял главный маятник.
Новая система Рудда стала важной вехой в развитии точных электрических хронометрических приборов. Впервые в истории хронометрии спусковой механизм уступил место вспомогательному маятнику. Этот вспомогательный маятник, соединенный с электромагнитным синхронизирующим элементом, позволил выделять лишь периодические, в данном случае до четырехминутных, импульсы и одновременно существенно сократить их во времени. За 1904...1919 гг. свободный электромагнитный маятник прошел большой путь интенсивного развития, что было заслугой таких конструкторов, как Дэвид Джилл, Ц.О. Бартрум, О'Лири, Парсон и Болл.
Верхом совершенства в строительстве свободных электромагнитных маятников, примененных на практике, были электрические часы В.Х. Шортта. Его часы со сводным маятником, установленные впервые в 1921 г. на обсерватории в Эдинбурге, были в принципе построены на идее конструкции Рудда, развитой путем усовершенствования обоих синхронизированных маятников, работавших с 30-секундным интервалом между импульсами привода. Часы Шортта стали в период между обеими мировыми войнами обязательной принадлежностью всех крупных астрономических обсерваторий мира. Из наблюдения за ходом трех часов Шортта, установленных последовательно в 1924, 1926 и 1927 гг. в Гринвичской обсерватории, вычислили среднесуточную общую погрешность в 1/300 с, что приблизительно соответствует ошибке в 1 с в год. Точность, достигнутая свободным маятником Шортта, вызвала надежды на возможность измерений изменения продолжительности оборота Земли. В 1931 г. это привело к пересмотру абсолютной единицы времени – звездного времени – с учетом нутации земной оси. Отсюда происходила ошибка, которой до сих пор пренебрегали и которая достигала при своем максимуме 0,003 с в сутки. Новая скорректированная абсолютная единица времени была позднее названа средним звездным временем. Результаты, достигнутые часами Шортта, были в течение многих лет – вплоть до появления кварцевых часов – непревзойденными по точности*.
* В СССР были созданы и успешно эксплуатировались маятниковые часы Федченко (типа АЧФ-3) с точностью, в 10 раз более высокой, чем часы Шортта. (Прим. науч. ред.)
Часы Шортта явились вершиной использования возможностей маятника как осциллятора часов, хотя и тогда не использовали все имевшиеся к тому времени возможности. И здесь был необходим некоторый, точно управляемый силовой импульс, который, несмотря на все принимавшиеся меры, оставался источником дестабилизирующих влияний на маятник и остальной механизм часов. Эти дестабилизирующие влияния пытались после Шортта устранить некоторые другие конструкторы.
В 1925 г. Ферре построил свой свободный маятник с фотоэлектромагнитным приводом, а через два года появился маятник Шулера с электродинамическим приводом. В теоретическом отношении наиболее разработанным было решение Томлинсона в 1933 г. Г.А. Томлинсон первым использовал сугубо электрические элементы – фотоэлемент, управляющий схемой чувствительного электронного реле на радиолампах. Это реле выполняло роль переключателя электромагнитных импульсов для маятника. Достоинством решения Томлинсона было то упрощение, при котором отпал вспомогательный маятник, и то обстоятельство, что при электрически посылаемом бесконтактным способом импульсе можно по сравнению с прежними механическими средствами существенно ограничить интерференционные влияния на маятник. Следующим бесспорным достоинством была малая инерция светового контакта, что хотя бы частично компенсировало недостаток часов Томлинсона – чувствительное электромагнитное реле. Хотя маятник Томлинсона и не получил большого практического применения, его главным теоретическим вкладом был показ возможности отхода от электромагнитных систем в сторону современных схем с электронным управлением.