Основные ссылки

CSS adjustments for Marinelli theme

Электронные часы с механическим камертонным осциллятором

В 1961 г. американская фирма «Булова Уотч Компани» выпустила на рынок новый тип наручных часов марки «Аккутрон», решение которых вышло за рамки концепций ранее выпускавшихся электрических и электронных систем сразу в нескольких отношениях. Эти часы имели совершенно новый осциллятор в виде маленького камертона с длиной 25 мм. Частота камертона 360 Гц была для часовых осцилляторов того времени необычно высокой. Постоянство частоты поддерживалось электронной схемой, видной по рис. 37.

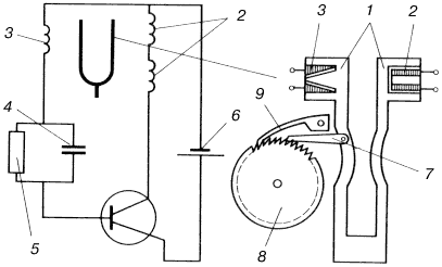
Схема электронных часов с камертонным осциллятором

Рис. 37. Схема электронных часов с камертонным осциллятором:
1 – постоянные магниты, 2 – катушка привода, 3 – вспомогательная катушка для обратной связи, 4 – конденсатор, 5 – сопротивление для настройки рабочей точки, 6– источник, 7 – толкатель, 8 – храповое колесо, 9 – фиксатор

Обе консоли камертона имели встроенные постоянные магниты. Работу этих часов можно описать следующим образом: при прохождении тока через катушку привода попеременно притягиваются и отталкиваются несущие втулки магнитов из мягкого железа. При колебании ветвей камертона в катушке возникает переменный ток, который передает камертону импульсы в те моменты, когда сила притяжения или отталкивания магнитов действует в фазе с колебаниями камертона. Синхронизацию обеспечивает вспомогательная обмотка на одной из двух катушек*. Главный контур тока образуется обмоткой этой катушки, а другая катушка соединена последовательно. Вторичный контур со вспомогательной синхронизационной обмоткой и элементом RC соединен с главным контуром транзистором. Питание обоих контуров обеспечивается миниатюрным ртутным элементом напряжением 1,3 В, который при потребляемой мощности в 8 мкВт способен обеспечивать работу часов в течение целого года.

* Явление синхронизации здесь не имеет места, обмотка одной из катушек раздвоена для обеспечения симметрии привода камертона. (Прим. науч. ред.)

Точность этих часов примерно на порядок, почти в 10 раз больше, чем точность прежних высококачественных наручных часов. Погрешность часов составляет около ±1 мин в месяц.

Изобретателем «Аккутрона» был швейцарец Макс Хетцель. В сотрудничестве с американцем В.О. Беннетом нью-йоркская фирма «Булова Уотч Компани» стала производить эти часы серийно. В настоящее время часы «Аккутрон» производит по лицензии и ряд других фирм под названием «Юнисоник 52», «Электроник F 300», «WIC Электроник» и т.д.*.

* Последние 5...7 лет эти часы не производятся. Они уступили место более точным кварцевым часам. (Прим. науч. ред.)